Патроны фильтрующие
Одним из видов деятельности завода является изготовление фильтров воздушных и патронов фильтрующих. Основные потребители нашей продукции — газоперекачивающие предприятия ПАО «Газпром» — используют ее в газоперекачивающих агрегатах для очистки атмосферного воздуха от пыли, а также природного газа от грязи и взвешенных каплевидных частиц.
Данные фильтры имеют высокую степень очистки, и могут успешно применяться в других отраслях, где требуется тонкая очистка воздуха и газа.
Фильтры — разового использования, поставляются в собранном виде, легко монтируются, не требуют ревизии при монтаже. При достижении предельного сопротивления заменяются новыми.
Патроны фильтрующие применяются для очистки природного газа от механических примесей и каплевидных взвешенных частиц.
Эффективность очистки:
- частицы до 10 мкм — 95%, свыше 10 мкм — 100% — для холста стекловолокнистого,
- частицы до 5 мкм — 99 %, свыше 5 мкм — 100% — для полотна нетканого клееного.
Температура рабочей среды: от −20°С до +100°С.
Гидравлическое сопротивление (чистого патрона): 0,01МПа.
Максимальный перепад давления (при максимальном загрязнении): не более 0,05МПа.
| Технические характеристики фильтропатронов | ||||||||
|---|---|---|---|---|---|---|---|---|
| Обозначение | Фильтрующий материал | Рис. | Размеры, мм | Масса, кг | ||||
| D | L | L1 | L2 | d | ||||
| ГПР475.00.000 | полотно нетканое клееное ТУ17 РСФСР 52-9814-80 | 2 | 105 | 1800 | 1884 | - | - | 3,54 |
| -01 | 105 | 1000 | 1084 | - | - | 2,19 | ||
| -02 | 105 | 500 | 584 | - | - | 1,14 | ||
| -03 | 105 | 1100 | 1184 | - | - | 2,55 | ||
| -04 | 1 | 105 | 1800 | 1884 | 1950 | - | 3,66 | |
| -05 | 105 | 1800 | 1884 | 1968 | - | 3,74 | ||
| ГПР138.00.010 | холст стекловолокнистый ВВ-Г ТУ21-5328981-16-96 | 2 | 124 | 1800 | 1884 | - | - | 3,65 |
| -01 | 1 | 124 | 1800 | 1884 | 1950 | - | 3,77 | |
| -02 | 124 | 1800 | 1884 | 1968 | - | 3,85 | ||
| ГП585.03.00.000 | 2 | 124 | 1800 | 1884 | - | - | 4,20 | |
| -01 | 124 | 1100 | 1184 | - | - | 2,60 | ||
| 6.1772.000 * | 124 | 955 | 900 | - | - | 2,25 | ||
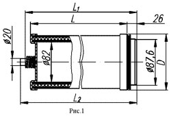
| 6.1379.000 * | 3 | 115 | 915 | 909 | - | 84 | 2,22 | |
| -02 | 115 | 1000 | 980 | - | 84 | 2,56 | ||
| -03 | 115 | 628 | 616 | - | 84 | 1,76 | ||
| -04 | 115 | 1847 | 1835 | - | 84 | 4,82 | ||
| -05 | 115 | 1822 | 1810 | - | 84 | 4,81 | ||
| -06 | 115 | 610 | 598 | - | 84 | 1,78 | ||
| 6.1513.000 | полотно нетканое клееное ТУ17 РСФСР 52-9814-80 | 117 | 794 | 784 | - | 97 | 2,00 | |
| 6.1515.000 | 150 | 400 | 390 | - | 127 | 1,90 | ||
| 6.1516.000 | 4 | 105 | 970 | 960 | 970 | 80 | 2,20 | |




Примечания:
* - корпус из нержавеющей стали.
Фильтрующие патроны ГПР475.00.000 взаимозаменяемы с патронами ГП585.03.00.000 и ГПР138.00.010 и разработаны с целью замены последних (фильтрующий слой — полотно нетканое клееное).
- Завод постоянно проводит работы по улучшению технологии и качества изготовления фильтров, а также исследования вопроса о возможности применения новых фильтрующих материалов с целью улучшения характеристик, таких как степень фильтрации, пылеёмкость и т.д.
- Мы будем рады рассмотреть Ваши предложения по изготовлению патронов фильтрующих любых типоразмеров. Завод готов сотрудничать и качественно выполнять Ваши заказы.